Scenic – navigering för dig som prioriterar vägen framför destinationen

Tvåtaktsmotorn som vi känner den har ingen framtid. Principen i sig upplever dock en återupplivning. Vi visar upp några trender, patent och koncept för den innovativa tvåtaktsprincipen.
Principen för tvåtaktsmotorn är lika enkel som den är genial. Dess funktion gör att motorn kan producera en tändnings- och förbränningscykel per vevaxelvarv. Med andra ord genererar en tvåtaktsmotor dubbelt så mycket kraft på samma varvtal som en fyrtaktsmotor.
De typer av tvåtaktsmotorer vi känner till idag, med sina höga energiförluster och oljeutsläpp, blir ett kraftigt miljöhinder. Trots detta fortsätter patent, koncept och prototyper att dyka upp som omtolkar tvåtaktsmotorn och kan bana väg för en utbredd comeback.
Den tvåtaktsmotor vi känner till från mopeder, skotrar, motorcyklar eller trädgårdsutrustning har inte längre någon framtid, utan nykonstruktion. De drar in färsk bränsle-luftblandning i vevhuset, och kolvens undersida förkomprimerar den under arbetstakten. I slutet av takten strömmar blandningen från vevhuset in i förbränningskammaren och tvingar ut de återstående avgaserna. Ytterligare en kompressionstakt följer, vilket återigen drar in färsk bränsle-luftblandning i vevhuset. I slutet av detta kompressionstakt sker ytterligare en tändning.
Tvåtaktsmotorn tänder den färska bränsleluftblandningen vid varje kolvslag. Bräsnleblandningen måste också innehålla olja för att smörja vevaxeln och cylinderväggarna.
Framtidens tvåtaktsmotor
De många koncepten och patenten för nya tvåtaktsmotorer förändrar inte denna grundläggande princip. De enda tvistepunkterna är hur gasutbytet sker – och naturligtvis ska oljan inte längre brinna. Några nya idéer skulle också kunna skingra den vanliga missuppfattningen att en tvåtaktsmotor inte har några ventiler. Det som alla dessa koncept har gemensamt är att de syftar till att behålla fördelarna med tvåtaktsmotorn utan att acceptera dess nackdelar. Och det är där en kompressor eller turboladdare och direktinsprutning kommer in i bilden.
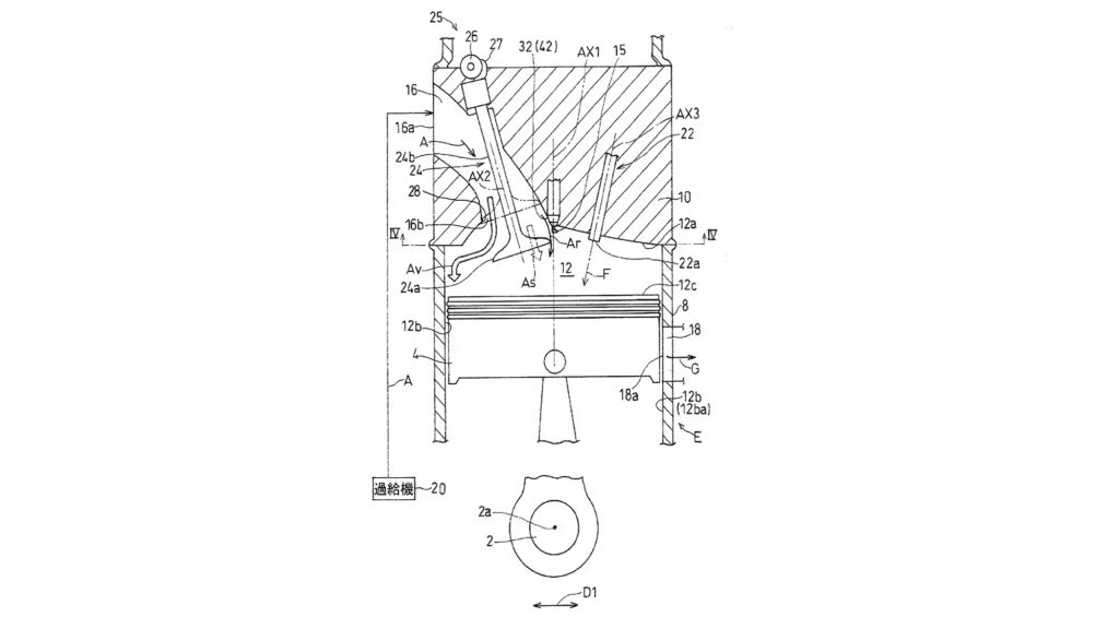
Kawasaki uppfinner ny turboladdad tvåtaktsmotor
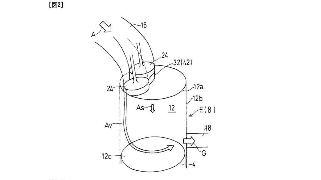
År 2024 patenterade Kawasaki en uppfinning som beskriver en ny typ av tvåtaktsmotor. Skillnaderna från den välbekanta designen är att Kawasaki använder insugningsventiler, forcerad induktion och direktinsprutning. Även om allt detta låter väldigt mycket som en fyrtaktsmotor, tänder denna motor teoretiskt sett bränsleluftblandningen vid varje övre dödpunkt.
Och så här fungerar det:
Tillvägagångssättet bakom den här motorn är följande: Kawasaki vill förhindra förluster mellan insugningsluften och avgaserna genom att bränslet sprutas in direkt i förbränningskammaren precis före tändning.
Kawasaki behöver dock fortfarande lösa två problem: 1) Hur kommer Kawasaki att mäta mängden luft i cylindern för optimal bränslemängd, med tanke på att det fortfarande kommer att finnas förluster från insugningsluften? 2) Hur kommer Kawasaki att smörja cylindern om det varken finns olja i bränslet eller i luften, och cylindern inte är tätad av avgasportarna?
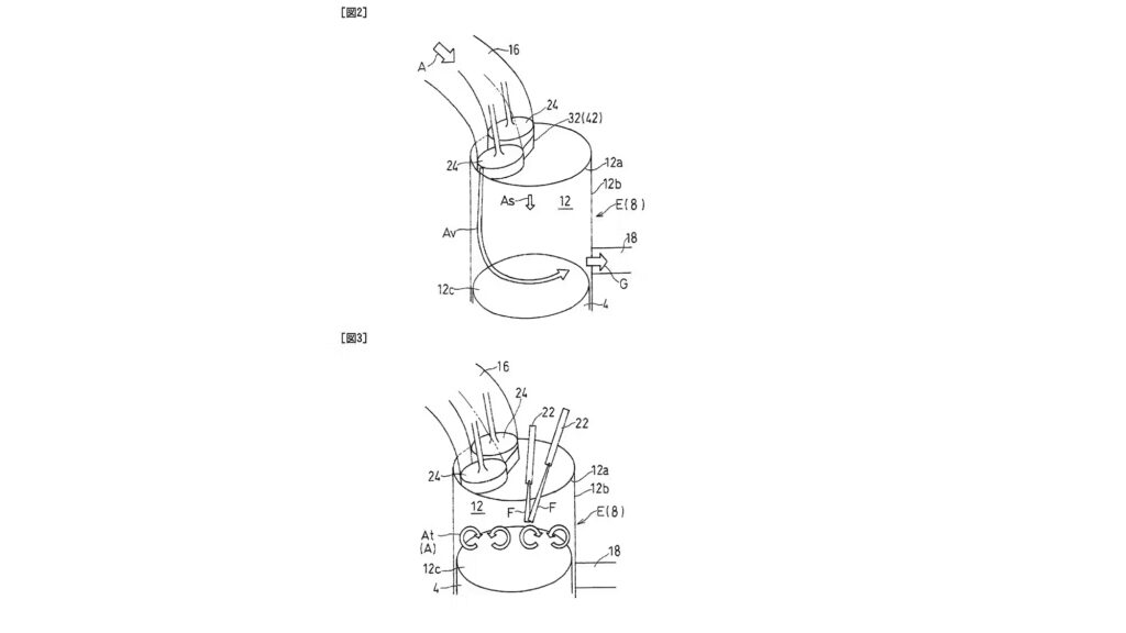
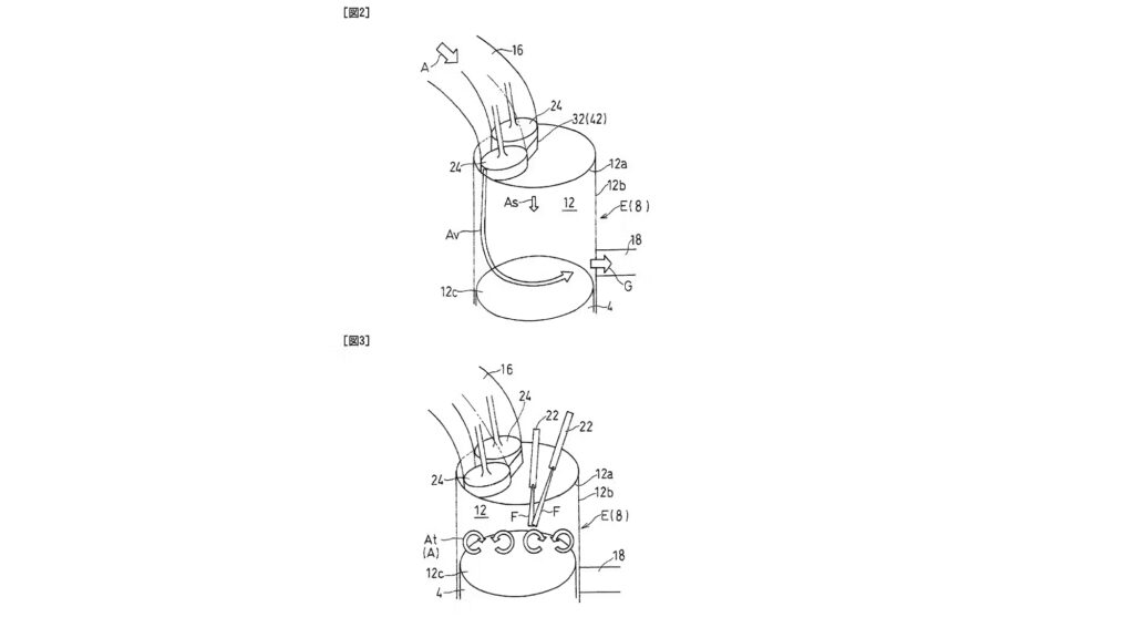
General Motors (GM): Ny tvåtaktsmotor med kompressor och turboaggregat
I december 2025 publicerade patentverket en ansökan från General Motors. Biltillverkaren tar sig också an ämnet nya tvåtaktsmotorer med nya intressanta lösningar. Grunden här är även att eliminera förblandningssmörjning och insprutning av bränsle i vevhuset. GM förlitar sig dock på den gamla tekniken med kolvventilen, som redan användes för över 100 år sedan.
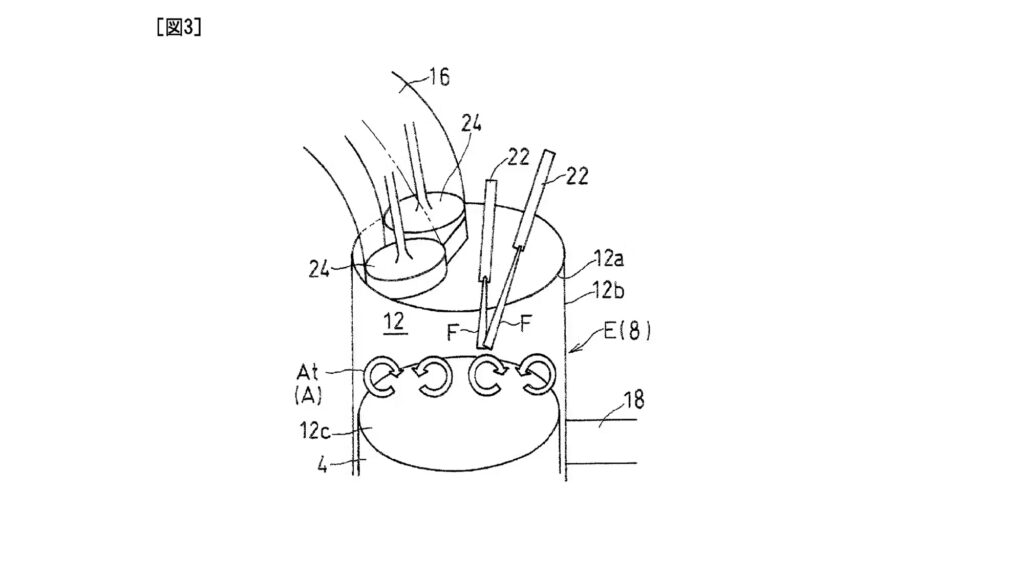
Alpha-Otto Rev-Force – Fungerar med allt
Alpha-Ottos innovativa Rev-Force tvåtaktsmotor, som presenterades 2025, testas redan. Den är konstruerad för att köras med bensin, vätgas, diesel och tung eldningsolja. Den fungerar enligt principen om direktflödesspolning, men utan ventiler, utan använder istället en roterande ventil för avgaserna.
Tvåtaktscykeln fungerar såhär:
Liksom Kawasaki och GM före dem strävar Alpha-Otto efter att förhindra förluster av färsk luft-bränsleblandningen. Även om detta uppnås genom direktinsprutning, kvarstår två frågor, liksom med Kawasaki-patentet:
Slutsats
Vi tror att tvåtaktsmotorer med innovativa koncept som turboladdning och direktinsprutning har en framtid. Kawasaki, GM och Alpha-Otto utvecklar nya metoder för att utnyttja fördelarna med tvåtaktsmotorer och minimera dess nackdelar. Återstående utmaningar inkluderar luftflödesmätning och förlustfri cylindersmörjning.
Prenumerera nu för att fortsätta läsa och få tillgång till hela arkivet.